Kybernetická korytnačka

Niekedy počas štúdia na Gymnáziu na Zápotockého ulici v Poprade, ČSSR (medzi 1985 a 1989, snáď v treťom ročníku: 1987-8?) sme s Majom v časopise Amatérské radio č. 12/1984 (autor: Jaroslav Kroczek) objavili návod na stavbu zariadenia, ktoré dokázalo "inteligentne" obchádzať nahmatané prekážky, chodiť po čiare a sledovať svetelné a zvukové signály. Už neviem ako, ale náš profesor elektrotechniky a systémov, Ing. Michal Gánovský, nás začal povzbudzovať, aby sme takú "kybernetickú korytnačku" zostrojili, pod jeho vedením, v rámci SOČ-ky (Stredoškolská odborná činnosť).
Práca na tomto projekte okrem iného znamenala, že zatiaľ čo naši ostatní spolužiaci sa nudili v normálnej učebni kreslením systémových diagramov, ja, Majo a neskôr aj Jano sme mohli pracovať na našej korytnačke vedľa, v elektrotechnickom laboratóriu. Vďaka projektu a výsadám z neho plynúcim sme si vyslúžili prezývku "korytnačky", ktorá bola podľa okolností buď príjemná (keď išlo o pochvaly), alebo boľavá (keď išlo o závisť).
...
Slávna "pätnátstka" bola nesmierne vzrušujúce miesto - meracie prístroje, osciloskopy, napájače, časti zariadení. Obzvlášť zaujímavé boli počítače, ktoré však na školách stále zaostávali za vývojom (doma som mal osembitový Sinclair ZX Spectrum, ktorý svojou stabilitou, ôsmymi farbami a množstvom softvéru predčil čokoľvek, čo sa našlo na gymnáziu). Najstaršie funkčné stroje, na ktorých sme sa učili základy strojáku (asembleru), boli primitívne osembitové mašinky zvané PMI-80. Mali len 1kB pamäte, malinké segmentové displeje a nedalo sa na nich robiť takmer nič, hoci niektoré šikovné hlavičky na ňom dokázali naprogramovať (v hexa kóde!) aj hry, ako napríklad čosi eufemisticky nazvané "tenis" (akýsi znak prechádzajúci z jednej strany displeja na druhú). Podstatne pokročilejším strojom bol PMD 85, ktorý už mal (čiernobiely) výstup na televízor, možnosť programovania v akomsi jednoduchom Basic-u, a tiež zopár hier. Slávny bol tým, že sa neustále prehrieval a potom blbol.
Pravda, v labáku sa nie vždy iba pracovalo. Na PMDčku existovala kópia sinclairovskej hry Manic Miner (hoci, kvôli horšej klávesnici, sa hrala ťažšie) na ktorej sme sa nesmierne vybláznili (preborníkom bol Meco). Okrem toho sme tam opravovali elektrónkové televízory, robili si vlastné plošáky a letovali. Raz tam ale niekto doniesol čosi úplne neelektronické - bola to loptička, ktorá sa nazývala "postrehová", pretože keď spadla na zem, odskočila nepredvídateľným smerom inde, než človek predpokladal. Tá gumená loptička totiž mala tvar kocky.
Priateľ Dodo Raček bol v istom zmysle štvrtou z troch "korytnačiek". Na projekte sa nezúčastňoval ale v mnohých ohľadoch bol šikovnejší ako my traja dohromady, a tak tiež mohol pracovať v labáku. Raz, bol som tam s ním zhodou okolností sám, sme si uzmysleli, že si vrámci oddychu zahádžeme tou postrehovou loptičkou. Stáli sme oproti sebe, súbežne s tabuľou, medzi radom okien a dverami vedúcimi na chodbu. Ako sa dalo predpokladať, jedna loptička, ktorú Dodo nechytil, rozbila okno, hneď vedľa katedry. Našťastie vedľa v učebni zarinčanie nepočuli, ale aj tak to bol hrozný trapas - hlavne kvôli dôvere, ktorú v nás profesor Gánovský mal. Neskôr sme prišli za ním, s dlhými nosmi, ospravedlniť sa. Sedel pri katedre, fúkal naňho vietor cez dieru skle, ale bol pokojný a iba nám doporučil, nech to dáme opraviť a už nikdy sa to neopakuje.
...
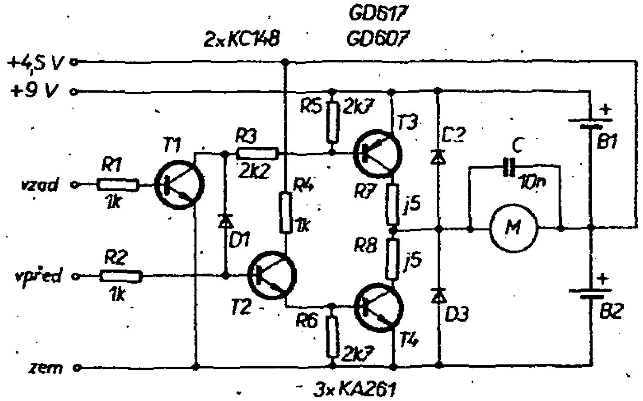
Pravdupovediac, korytnačku sme nikdy celkom nedokončili, pretože nám chýbalo niekoľko súčiastok, ktoré sa vtedy kupovali väčšinou na objednávku, ale i tak sa niektoré nedali zohnať.
Zoskenovaná verzia textu SOČ-ky má slabú kvalitu, pretože je na pauzáku - nejaká x-tá kópia. Neviem ani, či ide o konečnú verziu, pretože tam chýba posudok.
SLOVAK ARTICLEOCTOBER 17, 2025 AT 10:50:57 UTC